铁(特)氟龙低温等离子体表面处理提升粘接性能
文章出处:等离子清洗机厂家 | 今年会官网首页
| 发表时间:2022-10-28
聚四氟乙烯(PTFE)俗称铁氟龙有“塑料王”的美誉,具有相当优异的特性,如化学稳定性、不燃性、电绝缘性、抗老化性、抗辐射性、自润滑性、低渗透性等。因此聚四氟乙烯是一种综合性能优良、用途广泛的工程塑料。但是,由于铁氟龙材料润湿性能差,不能很好地被粘接,从而限制了其在某些场合的使用。为了使铁氟龙(PTFE)有更宽更广的应用,通过对(铁氟龙)PTFE的表面进行处理,以达到增加其表面能、提高润湿性及与材料之间的粘接强度的目的。
F1星空体育
是物质在高温或特定激励下的一种物质状态。它是由大量正、负带电粒子和中性粒子组成的,是除固态、液态、气态外,物质的第四种状态。其离子能量在5~10ev之间,足以使铁氟龙(PTFE)表面的分子键断裂,继而发生刻蚀、交联、化学反应等一系列的变化,引发气固相间的反应。
在材料表面改性中,主要是利用低温等离子体轰击材料表面,使材料表面分子的化学键被打开,并与等离子体中的自由基结合,在材料表面形成极性基团。由于表面增加了大量的极性基团,从而能显著地提高材料表面的粘接性能、印刷性能、染色性能等。
等离子体处理提升铁氟龙的粘接性能原因分析
表面元素分析
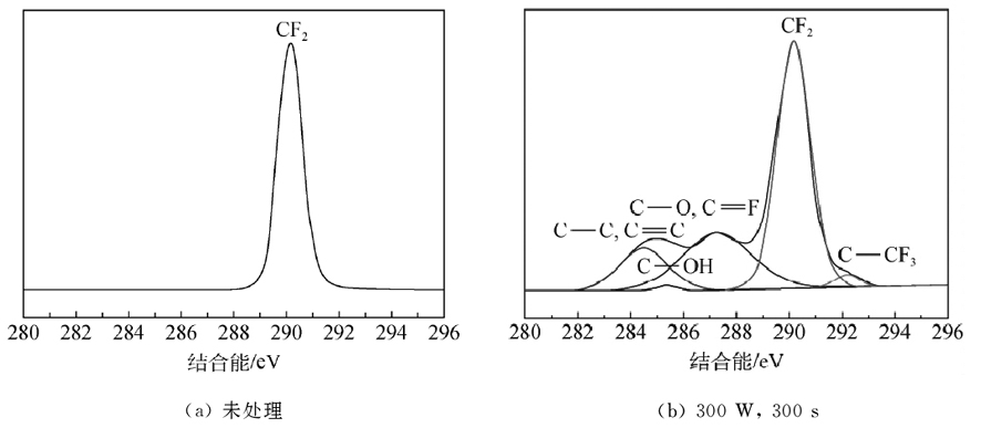
为研究等离子体处理后铁氟龙的表面元素含量变化,使用XPS进行分析。处理前后铁氟龙的XPS谱图如图1所示。
图一 等离子体处理铁氟龙的XPS图
由图1可知:未处理的铁氟龙表面只有F和C的特征峰,经等离子体处理后铁氟龙表面出现了O和N的特征峰,证明等离子体处理向铁氟龙表面引入了O和N元素。为进一步分析铁氟龙表面黏结性能改善的原因,对薄膜的C1s谱进行分析,如图2所示。由图2可知:未经处理的铁氟龙样品C1s谱中只有CF2的特征峰;经等离子体处理后薄膜表面增加了CO、C-OH、C-C、C-CF3的特征峰。由此可见,等离子体处理可以在铁氟龙表面生成新的官能团,这是其表面黏附性即黏结性能提升的重要原因。

图二 等离子体处理铁氟龙的C1s 分峰图
等离子体引发过程中产生的活性粒子和极性基团可以移除铁氟龙表面的F并产生自由基,引发表面发生交联反应或形成不饱和键,暴露于空气中后又会与O2等发生反应,从而引入O和N元素并生成新的官能团。铁氟龙表面F/C比例越低、(O+N)/C比例越高,表明有越多的C-F2键被打断并生成更多的官能团,从而使铁氟龙的表面黏附性得到改善。
表面形貌分析
等离子体处理前后铁氟龙表面的SEM图,如图3所示。从图3可以看出:未经处理的铁氟龙表面只有细小的裂痕;经等离子体处理后样品表面粗糙度增大,且粗糙度随处理时间和放电功率的增加而增大。等离子体对铁氟龙表面的刻蚀作用使得材料表面粗糙度增大,使其表面黏附性和亲水性得以改善,这是其黏结性能改善的一个原因。

图三 等离子体处理铁氟龙的扫描电镜照片
处理前后水滴角对比
下图4为铁氟龙材质导管,等离子处理前后水滴角对比,等离子处理前,铁氟龙水滴角为107°左右,呈现出疏水状态,等离子处理后,铁氟龙表面水滴角下降明显,只有18°左右。材料表面越亲水,对粘接就越有帮助。
图四 铁氟龙等离子处理前后水滴角对比
利用低温等离子体表面改性铁氟龙的优点
与传统表面处理方法相比,低温等离子体表面改性具有以下明显优点:
(1) 处理温度低,处理时间短,节约能耗,可缩短工艺流程;
(2) 处理过程中不使用酸碱等化工原料,避免了高温潮湿的生产环境;
(3) 处理深度仅为数百埃到几纳米,不影响基体的固有性质;
(4) 处理过程属于干法处理,可大幅降低水资源消耗,对节约水资源有重要的社会经济意义;
(5)处理过程中无三废排放,既保护了环境,又节约了企业的治污费用,符合国家的环保政策;
以上资料由国产等离子表面处理机厂家纳恩科技整理编辑。综上所述,等离子体处理后的铁氟龙表面黏附性和亲水性均有提升,SEM结果表明,经等离子体处理后铁氟龙的表面粗糙度增大,这是其黏结性能改善的原因之一。铁氟龙的表面黏附性与表面F/C、(O+N)/C比例有直接关系。样品的XPS分析表明,等离子体表面处理可以降低铁氟龙表面的F/C比例并引入新的活性基团,这是黏结性能提升的重要原因。